天津昌特净化科技有限公司
Tianjin ChangTe Sci-tech Purification Co. LTD


打造生物安全行业领航者
精益求精 / 精诚合作 / 用心服务
To build the machinery industry eader
新闻动态
NEWS
生物安全型禽负压隔离器及RTP传递系统
常宗湧
(天津昌特净化科技有限公司)
摘要:本文简介了一种用于高等级生物安全或生物制药等领域的装备,生物安全型禽负压隔离器及RTP传递系统。它由四大系统组成,即控制系统、操作系统、RTP传递系统和污水处理系统。
关键词:生物安全;负压;隔离器;RTP;安全评价
1.前言
随着我国经济实力的提升,我国制造业也呈现出全产业链范围的技术进步。由国家生物防护装备工程技术研究中心申请立项国家重点研发计划项目(项目编号2016YFC1201400),天津市昌特净化工程有限公司配合该技术中心,经过几年艰苦努力成功开发出生物安全型禽负压隔离器及RTP传递系统。该项目已经通过具有国家级检验资质的第三方机构,国家建筑质量监督检测中心检验,该项目已经开始在中国农业科学院哈尔滨兽医研究所和兰州兽医研究所开展示范应用和性能评估。
生物安全型禽负压隔离器及RTP传递系统项目的完成,标志着我们国家在高等级生物安全装备领域,打破了该类产品长期依赖进口的局面,突破了发达国家在该技术领域的技术封锁,填补了国内同类产品的空白。该项目的研发成功在节约了大量的外汇同时,也为我们今后进一步深度开发建立了一整套成熟的技术路线和评价体系,打造了一支结构合理的研发团队,积淀了雄厚的技术人才储备。在工信部刚刚推出的“中国制造2025”中,特别强调了要从制造业大国向制造业强国转化,不论从哪个角度讲,该设备都契合了国家产业化政策。应该说,该项目的完成取得了巨大的社会效益和经济效益。
2.生物安全型禽负压隔离器及RTP传递系统的组成
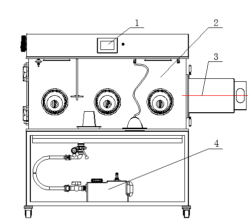
该设备由四大系统组成,包括1控制系统、2操作系统、RTP传递系统和4污水处理系统。见图1。
2.1控制系统
2.1.1控制系统的主要元器件
高清触摸屏
德国西门子可编程控制器PLC
2.1.2控制系统具有二种操作模式
工作模式和消毒模式。
通过触摸屏进入工作模式,系统上电,密闭阀打开,照明系统打开等程序都可以通过触摸屏完成。
在工作模式下,系统可以自动进行PID调节(自动平衡调节)。假如手套意外破裂,智能化的控制系统可以自动将风力加至最大,使得仓内依然保持负压状态。
此外,智能化控制系统还可以自动进行热平衡,也可以通过触摸屏在线实时输出温度、湿度和压力差等参数。
控制系统具有自动报警功能。一旦数据异常,该系统可以自动报警,提示操作人员及时修正。
通过触摸屏也可以切换到消毒模式。
2.2操作系统
生物安全型禽负压隔离器的操作系统由以下主要部件组成。
2.2.1操作箱(工作仓)
操作箱选用优质亚克力材料制作,具有抗酸碱,耐腐蚀,强度高,透明度好等优点。操作箱的结构尺寸按照人机工程学理论设计,能够充分满足操作需求。
2.2.2折叠工作台
操作箱内设置有可以折叠的工作台,可在需要时展开以放置试验所需的试管、针头等物品。
2.2.3供水系统
操作箱顶部设置饮水接口,通过管道连接箱内乳头式饮水器。(标准件)
2.2.4冲洗系统
操作箱内设置有冲洗插头。(标准件)
2.2.5呼吸过滤器
操作箱顶部设置有“呼吸过滤器”,压力由传感器控制,精度±1%。(标准件)
2.2.6箱内供电
如果操作箱内需要临时供电,可启用箱内航空插头供电220V。(标准件)
2.2.7箱内送风器
操作箱左侧顶部设置有高效过滤器。过滤效率99.95%,过滤精度0.3-0.5μm(标准件)
2.2.8箱内排风器
操作箱右侧顶部也设置有高效过滤器。过滤效率99.95%,过滤精度0.3-0.5μm(标准件)
2.2.9箱内气体消毒接口
操作箱左侧端面设置有可对箱体内部进行气体消毒的接口2个,分为进气和排气,(标准件)。
2.2.10操作箱左侧门
操作箱左侧端面设置有左侧门,门体材料PVC,硅胶密封圈,门上配有4个专用锁。
2.3. RTP传递系统
在操作箱右端面设置有RTP传递系统。
2.3.1RTP系统的含义
RTP又称RTP阀。英文Rapid Transfer Ports,直译为快速传递接口。它是隔离器与移动容器对接的一种接口。RTP可以把菌种从一个控制区域通过安全区转移到另一个控制区域。RTP是隔离器上技术含量最高的关键部件之一。
2.3.2RTP传递系统的功能
在线采集、传递、转移目标载体。
2.3.3RTP传递系统的分类
304不锈钢、HDPE聚乙烯。
2.3.4RTP传递系统的消毒
根据用户不同的需要,可以采取高温灭菌和化学灭菌方式。不锈钢筒可以采用整体高温灭菌,其上所有零部件都是按照130℃设计的。聚乙烯筒采用二氧化氯或气化过氧化氢等化学灭菌。
2.3.5RTP传递系统的安全检测评价
A检测评价箱体是否泄漏。此时未装RTP。检测方法,向操作箱体内加压>1000Pa,若泄漏率<0.25%/h则操作箱密封达到标准RB/T 199-2015《实验室设备生物安全性能评价技术规范》中隔离器气密性要求。
B检测评价RTP筒是否泄漏。检测方法,此时,RTP筒还没装到操作箱上。向RTP筒体内加压>800Pa,若泄漏率<0.25%/h则RTP筒密封达到标准RB/T 199-2015《实验室设备生物安全性能评价技术规范》中隔离器气密性要求。
C检测评价操作箱与RTP筒互不泄漏。检测方法,安装好RTP后,未开操作箱门。检测操作箱内压力,若操作箱内泄漏率<0.25%/h,并且RTP筒内泄漏率<0.25%/h则操作箱和RTP筒密封达到标准RB/T 199-2015《实验室设备生物安全性能评价技术规范》中隔离器气密性要求。
D检测操作箱门与RTP之间连接密封是否泄漏。检测方法,安装好RTP后,打开操作箱门,此时操作箱门连接带动RTP筒盖一同打开,使操作箱与RTP联通,往连接箱体中加压>1200Pa,若箱体内泄漏率<0.25%/h,说明箱门与RTP连接密封达到标准RB/T 199-2015《实验室设备生物安全性能评价技术规范》中隔离器气密性要求。
E检测操作箱门是否有效关闭。检测方法,关上RTP门,向箱体内加压至1000Pa,若泄漏率<0.25%/h则操作箱门有效关闭,箱内压力不会向RTP筒内泄漏。
F检测评价RTP筒是否泄漏。此时,RTP筒已经从操作箱上卸下,向RTP筒体内加压>800Pa,若泄漏率<0.25%/h则RTP筒密封达到标准RB/T 199-2015《实验室设备生物安全性能评价技术规范》中隔离器气密性要求。
RTP传递系统的密封,不论是不锈钢筒还是聚乙烯筒,其核心技术是密封,关键零件是密封圈。本项目密封圈的研发历经多年,设计理念是按照逻辑密封而产生协同变形。
所谓按照逻辑密封,密封圈是按照胶圈不同形状所接受的气流大小方向的不同和先后的逻辑进行设计,进而使得密封圈的在密封过程中实现协同变形。
RTP传递系统的评价,本项目RTP 完全达到和超过国外同类产品各项指标。使用RTP 可以有效地提高产品质量的稳定性,保证人员和环境的绝对安全性。在世界范围内使用RTP已经成为趋势。
2.4 污水处理系统。
设备实物见图2。
3.生物安全型禽负压隔离器(RTP传递系统)的特点
3.1智能化
控制系统采用人机对话,采用触摸屏和PLC等技术使得操作更加便捷。
3.2系统化
整机由控制系统、操作系统、污水处理系统、RTP移动系统四部分组成,按照模块化设计,既相互连接又各自独立。这样的技术方案使得操控简单,维护方便。
3.3标准化
该设备所有零部件、元器件和原材料采用的原则是优质和高端,特别是尽量采用标准件。因此,有效地保障了设备的稳定性和使用寿命。
3.4产业化
本设备已经通过了国家建筑质量监督检测中心检测,相关性能指标可满足标准RB/T199-2015《实验室设备生物安全性能评价技术规范》、GB50346-2011《生物安全实验室建筑技术规范》、GB 14925-2010《实验动物 环境及设施》以及JG170-2005《生物安全柜》的相关要求,主要性能指标达到或超过国外同类产品水平。
由于本设备符合国家产业化政策,又通过了国家级权威部门的检测,制造工艺成熟,产品性能稳定,已经实现批量生产。
3.5应用范围广
本设备可用广泛用于高等级生物安全隔离及高活性、致敏性生物制药等领域。
[参考文献]:
[1] RB/T199-2015《实验室设备生物安全性能评价技术规范》
[2] GB50346-2011《生物安全实验室建筑技术规范》
[3] GB14925-2010《实验动物 环境及设施》
[4] JG170-2005《生物安全柜》
收稿日期:
作者简介:常宗湧(1953—),男,天津市人,教授级高级工程师,研究方向:气体净化工程系统、设备的工艺总成、系统安装等。
联系人:鲍昀利
联系方式:15620525035 邮编:300240
地址:天津市北辰区北辰科技园景丽路20号

图1

图2